Protections
La capacité de votre 205 à effectuer les étapes du raid sans encombre dépend, en grande partie, des protections mises en place.
Elles font partie intégrante de la fiabilisation de la mécanique et restent un point clé dans la réussite de votre périple.
Il est donc important de bien cibler les éléments à protéger, ou à fiabiliser, pouvant être impactés lors de chocs générés par les obstacles susceptibles d’être rencontrés ou à la réception de sauts.
La priorité est l’installation de plaques de protection en partie basse se décomposant en 3 parties distinctes :
• Pare carter moteur.
• Protection sous caisse.
• Protection du réservoir.
Leurs tailles et épaisseurs sont à dimensionner en évaluant les chocs qu'elles peuvent subir sur le parcours.
Dans la mesure du possible, faire en sorte que toutes les plaques se suivent en assurant une continuité.
Dans tous les cas:
La jonction des plaques doivent faire en sorte qu'une rupture, ou le desserage, des vis ne puissent créer un point d'accroche avec le sol.
C'est à dire que la plaque arrière repose sur la plaque en avant.

La plaque arrière ne peut pas tomber en cas de perte/rupture des vis.
|

Multiplier le nombre de rivets sur la ligne de fixation arrière.
|
Pare-carter
Le pare carter est un abus de langage puisqu’il s’agit plutôt d’un pare pierre dont la fonction première est de protéger le carter moteur contre les chocs.
Son rôle est aussi d’assurer la protection des autres éléments en partie basse du moteur telle que la boite de vitesses par exemple.
Il est un élément indispensable et son installation doit être faite avec beaucoup de rigueur.
L’aisance à effectuer le parcours du raid sans encombre sera liée à la qualité de sa conception.
Il fait partie des points prioritaires dans la préparation de la voiture et ne doit surtout pas être négligé.
Ses dimensions doivent pouvoir protéger les organes du moteur des potentiels obstacles pouvant être rencontrés. Toutefois, le surdimensionner abaisserait
considérablement la ventilation naturelle du moteur et les ventilateurs seront enclenchés plus souvent.
Sa fixation doit aussi être bien réfléchie car les supports doivent pouvoir supporter les contraintes.
Il est préférable de choisir une plaque en alliage d’aluminium afin de gagner du poids mais d’épaisseur conséquente : entre 6 et 10mm.
L’effort doit être reporté sur les longerons :
• En partie avant en créant des pattes s’appuyant sur les longerons.
• En partie arrière, proche des points d’ancrage du berceau.
Il est indispensable de s'assurer que le pare-carter soit éloigné de quelques cm du point bas de l'ensemble moteur/boite.
Hormis pour les petits moteurs TU, le moteur ainsi que la boite de vitesse se trouvent à la même hauteur que le bas du berceau.
|
Point bas carter d'huile
|
Point bas boite de vitesses
|
La surface du berceau n'est pas plane, surtout au niveau de la partie arrière plus basse en raison de la barre de rigidification.
Afin de supprimer l'irrégularité de surface mais aussi pour augmenter la marge avec la partie basse du moteur, installer une barre de section
rectangulaire d'au moins 1cm d'épaisseur. Plus épaisse, si vous désirez augmenter la marge entre le parcarter et le moteur.
Inverser la vis de support du silentbloc anticouple
|
|
Cependant, plutôt que de placer une barre, ou des entretoises, de forte épaisseur entre le berceau et le pare-carter pour créer cette marge de sécurité, il est judicieux
de baisser le berceau plus bas que le moteur (10mm max par rapport au moteur) par des cales entre la caisse et le berceau.
Le resultat est un angle de carrossage amélioré sans perte de garde au sol tout en créant une distance entre le moteur et le pare-carter.
|
Moteur & berceau à hauteur normale
|
Berceau descendu de 10mm
|
Moteur descendu pour diminuer angle cardans
|
|
|
|
Cales entre :
• berceau et pare-carter
|
Cales entre :
• berceau et pare-carter
• berceau et caisse (rattrapage carrossage)
|
Cales entre :
• berceau et pare-carter
• moteur et longerons (rattrapage angle cardan)
• berceau et caisse (rattrapage carrossage)
|
Dans tous les cas, du fait de la rehausse, baisser le berceau ne peut être que bénefique pour le carrossage.
Limiter la différence de hauteur entre le moteur et le berceau à 10mm pour éviter des problèmes de commande de boite de vitesses.
|
Par exemple, pour un moteur au même niveau que le berceau, avec une marge de sécurité de 20mm au niveau du pare-carter :
• Si le moteur est à hauteur d'origine, placer une barre d'environ 10mm d'épaisseur et des cales de berceau de 10mm.
• Si le moteur est baissé de 10mm, placer une barre d'environ 15mm (ou 10) d'épaisseur et des cales de berceau de 15mm (ou 20*).
• Si le moteur est baissé de 15mm, placer une barre d'environ 20mm (ou 15) d'épaisseur et des cales de berceau de 15mm (ou 20*).
*Des cales de berceau de 20mm peuvent être installées à condition de bien vérifier les liaisons d'axe de volant, voir Prép'Rehausse/angle de carrossage..
Des cales de berceau sont disponibles, voir Prép'Kits/kit n°2 ou Prép'Kits/kit n°3.
Un pare-carter est disponible, voir Prép'Kits/kit n°16.
|
La partie avant du pare carter, le bord d’attaque, doit impérativement être renforcée pour supporter les impacts.
L’installation d’une barre à ce niveau est intéressant car servira de support en s’appuyant sur l'avant des longerons.
|
|
|
Choc sans renfort du bord d'attaque du pare carter malgré une épaisseur de la plaque d'alu de 8mm →
|
|
Protection sous caisse
Cette protection est loin d’être indispensable car ne sert qu’à protéger les tubes de freinage arrière ainsi que d’alimentation carburant.
De ce fait, elle n’a que peu d’utilité si les durites passent dans l’habitacle ce qui vous fera gagner du poids.
Par contre, elle assure une continuité avec le pare carter améliorant le comportement dans le gros sable.
Une épaisseur de 6mm est suffisante car ne protège pas grand-chose mais peut vous aider à glisser dans le sable…
|
Protection des durites de freinage à peu de frais à l'aide de tôles en acier galvanisé d'épaisseur 1mm →
(largement suffisant, la durite d'essence est passée dans l'habitacle)
|
|
|
Protection sous réservoir
Le réservoir est suffisamment solide pour supporter de forts chocs.
Bien que très rare, le problème est essentiellement les pierres saillantes qui pourraient le percer.
Par mesure de précaution, il est conseillé de le sécuriser. Ce point est parfois une obligation par l'organisateur du raid.
De plus, les gros impacts ont tendance à le déformer faisant remonter sa surface inférieure et écrasant ainsi
la sonde de niveau carburant qui casse au niveau de la fixation haute. Ceci engendre généralement une fuite de carburant par le haut ne permettant plus de faire
complètement le plein.
Une protection par une plaque alu d’épaisseur de 6mm peut limiter ce phénomène tout en le protégeant des pierres coupantes.
Mais si toutes les durites sont passées dans l'habitacle et qu'une protection sous caisse n'est pas installée (gaine de poids),
il est tout à fait possible de renforcer le réservoir en doublant sa paroi par le rajout d’un demi-coquille fixée par dessous.
Pour se faire, il suffit de découper horizontalement un réservoir de 205, récupéré à la casse, que l'on colle sur celui d'origine.
De la colle polyuréthane (PU), appelée généralement "colle pare-brise" fait très bien l'affaire.
|
Protection du reservoir par un demi-coquille en Kevlar →
(pas de protection sous caisse, toutes les durites sont passées dans l'habitacle)
|
|
|
|
Prévoir une jauge de carburant de rechange si elle venait à casser à cause de la remontée du réservoir lors d'un choc pour stopper la fuite ainsi que les émanations de vapeur carburant.
Le cache écrou d'axe de tambour de frein possède le même diamètre et peut servir en secours.
|
Continuité de la protection
Dans la continuité des protections sous caisse, profitez en pour protéger la jupe arrière qui a tendance à racler le sable et donc de freiner la voiture.
Si vous décidez de la conserver, de simples plaques de quelques mm d'épaisseur permettent d'assurer une bonne protection
évitant un possible arrachement dans le sable.
Cette protection n'est pas indispensable mais limite fortement une possible casse de la jupe, voir son décrochage, lors de parcours dans les dunes.
|
Bien que ce montage soit performant, il vaut mieux limiter au maximum le nombre de plaques utilisées afin de diminuer le risque de bords saillant
pouvant s'accrocher tout en gagnant en rigidité (les plaques de fixation au bas de caisse ne sont pas présentées).
|
|
Pare carter→
|
|
Plaques de protection sous caisse→
et réservoir →
|
|
|
Exemple d'un montage de protections moteur et sous caisse |
Dans cet exemple, les protections assurent une continuité de l'avant de la voiture jusqu'au réservoir.
Le pare carter (8mm) est renforcé par une barre au niveau du bord d'attaque fixée par des pattes remontant sur le longeron servant à le maintenir en partie avant.
Les protections sous caisse (6mmm) sont tenues par des pattes sur la caisse ainsi que sur les fixations de réservoir.
|
|
|
|
Attention, dans cet exemple:
La ligne de fixation avant des plaques centrales de protection sous caisse, au niveau de la jonction du pare carter, n'est pas suffisamment dimensionnée.
Avec les chocs, il y a un fort risque que l'avant de ces plaques ne se détache présentant un point d'accroche avec le sol (sable) venant les arracher.
|
|
En complément des protections contre les pierres, la mécanique de la voiture doit pouvoir supporter les réceptions des sauts et autres figures de style.
Tout comme il faut aussi assurer la sécurité de l'équipage.
|
- Le poste de conduite doit être protégé par une grille afin de le sécuriser du chargement.
|
|
|
|
|
Idéalement, se servir d'un arceau central fixé sur les points d'attache des ceintures de sécurité sur laquelle une grille est soudée.
A noter qu'un arceau complet dit "6 points" offrira un gage de sécurité supplémentaire tout en protégeant la structure
de la voiture d'éventuelles déformation lors de chocs. Mais dans ce cas, du fait l'absence du port d'un casque,
il est impératif d'installer des protections en mousse au niveau de la tète du pilote et copilote.
Il est préférable, si possible, de souder la grille coté chargement afin qu'elle prenne appui sur l'arceau central.
|
|
|
← Fixation sur points d'ancrage supérieur de ceinture avant et inférieur arrière.
Pour raison de sécurité, si vous êtes frileux d'utiliser les points d'ancrage des ceintures de sécurité avant, il est tout à fait possible
de se fixer sur les points arrières par le rajout d'une barre de liaison.
Fixation sur points d'ancrage supérieur de ceinture arrière. →
|
|
|
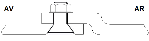
- La fixation du moteur doit être améliorée par l’ajout d’une protection du silent bloc de support moteur.
En effet, l'ensemble moteur boite, à cause de son poids et de l'inertie, a tendance à remonter à la reception des sauts.
|
Placer une plaque en forme de U fixée sur la caisse ainsi qu'une butée en caoutchouc sur le support moteur :
|
|
La butée peut être placée sur la vis de fixation du support moteur →
|
|
- Il est indispensable de sécuriser la batterie pour éviter tout risque de décrochage pouvant générer un court-circuit dévastateur
ainsi qu'une perforation par la remontée du goujon de boite de vitesse du fait de la raison citée précedemment.
Voir Prép'Tech/batterie de bord
- Tout comme le moteur, l'inertie de la ligne d'échappement est conséquente et il est préférable de la sécuriser en cas de perte.
Voir Prép'Tech/ligne d'échappement
- Il est préférable de monter des bavettes de protection au niveau des passages de roues Av & Ar.
Elles sont d'ailleurs parfois imposées par l’organisateur afin de baisser le risque de projection de pierres. On remarque souvent des sangles les maintenant.
Ceci permet d’éviter qu’elles ne soient arrachées par les roues lors d’une marche arrière dans le sable.
Privilégier des sangles réglables (tombantes sur pistes et relevées uniquement dans le sable) plutôt que des chaines qui sont plus lourdes et non réglables.
Bavettes de protection en polyéthylène pour rallye maintenues par sangle réglables →
|
|
|
- Le cardan d'axe de direction est enduit de graisse sur laquelle se colle le sable.
A moins de le dégraisser entièrement, il est possible de le protéger par un soufflet disponible en pièce détachée chez Peugeot ou
en équivalence.
|
|
|
Réf. Peugeot 4151 03 →
|
|